- Tutorial nº 75 -

Sistemas de
Frenos Antibloqueo
(A.B.S.)

Índice de contenidos:

1- Introducción

1.1- Generalidades

1.2- Funcionamiento del ABS

2- Componentes del sistema

2.1- Generalidades

2.2- Sensores de rueda

2.3- Unidad de Control Electrónico (ECU)

2.4- Hidrogrupo

2.5- Señal del switch de luces de freno

2.6- Válvulas moduladoras ABS

2.7- Cableado

3- Funcionamiento hidráulico del sistema ABS

3.1- Generalidades

3.2- El mantenimiento de presión

3.3- La disminución de presión

3.4- El aumento de presión


DESARROLLO DEL CONTENIDO


1- Introducción

1.1- Generalidades

Con el objetivo de hacer la frenada más eficiente y segura se ideó y se ha ido perfeccionando el llamado sistema de frenado antibloqueo ("Antilock Bracking System, o ABS).

Básicamente consiste un sistema que evita el bloqueo de las ruedas al frenar, y por tanto evita que se pierda el control direccional del vehículo. Esto es así porque sólo una rueda que gira, sin bloquearse, puede generar unas fuerzas laterales que pueden cumplir con las funciones de dirección y control del vehículo.

Este sistema de regulación de la frenada comienza con unos sensores ubicados en las ruedas que controlan permanentemente la velocidad de giro de las mismas, por eso que también se les llama captadores RPM de ruedas. A partir de los datos que suministra cada uno de los sensores, la unidad de control electrónica (la ECU) es capaz de calcular mediante un algoritmo matemático una velocidad media, que se toma que corresponde aproximadamente a la velocidad del vehículo. Comparando las distintas velocidades que va adquiriendo una rueda con la media global se puede saber si esta rueda amenaza o no con bloquearse.

Si es así, el sistema ABS se activa reduciendo automáticamente la presión de frenado en la rueda en cuestión hasta alcanzar un valor umbral fijado de antemano y que queda por debajo del límite de bloqueo. Cuando la rueda vuelve a girar libremente se vuelve a aumentar al máximo la presión de frenado. Este proceso (reducir la presión de frenado / aumentar la presión de frenado) se repite hasta que el conductor retira el pie del freno o disminuye la fuerza de activación del mismo.

El sistema antibloqueo ABS constituye un elemento de seguridad adicional en el vehículo. Durante un frenado que presente riesgo de bloqueo de una o varias ruedas, el ABS actúa evitando este riesgo, y consiguiéndose además las siguientes ventajas:

- estabilidad en la conducción: es importante mantener la estabilidad del vehículo durante la frenada en cualquier situación;

- control de la conducción: se debe mantener el control direccional del vehículo en todo momento, incluso en situaciones extremas de frenada en curva, y aunque se pierda adherencia en algunas ruedas;

- distancia de frenado: con el uso del ABS las distancias de frenado en condiciones límites se reducen considerablemente, manteniéndose el control del vehículo.

Debido a que la respuesta del sistema para que sea efectiva debe ser muy rápida y exacta, el sistema cuenta con un componente electrónico muy potente, que permite además un análisis de la situación en cada instante y una respuesta en consonancia con la nueva situación. Los nuevos sistemas permiten tomar datos hasta quince veces por segundo de la situación de cada rueda y obrar en consecuencia.

 

1.2- Funcionamiento del ABS

Como ya se ha dicho, el sistema ABS es un sistema electrónico que comprueba y controla la velocidad de las ruedas durante el frenado. El sistema opera completamente integrado con el sistema de frenos neumáticos estándar del camión o hidráulicos en los vehículos ligeros. Mediante unos sensores ubicados en cada rueda permite controlar la velocidad de las mismas y se controla el frenado durante las situaciones de bloqueo de las mismas. El sistema mejora la estabilidad y el control del vehículo al reducir el bloqueo de las ruedas durante el frenado.

El Sistema de Anti-Bloqueo de las ruedas (ABS), actúa sobre la fuerza de frenado que se ejerce en los tambores (caso de los camiones) o de los bombines (en caso de vehículos ligeros) de freno. Al momento de sentir una traba o amenaza de bloqueo en las ruedas, proporciona una reducción gradual de la rotación y, adicionalmente, minimiza su deslizamiento de forma tal que la rueda permanezca lo más adherida posible al pavimento, sin deslizar.

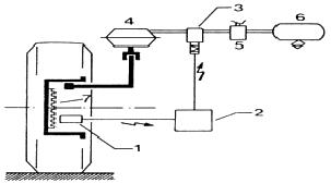
Un sistema de regulación de presión para camión equipado con ABS se configura según el esquema siguiente:

Sistema de frenos ABS de un vehículo

---1. Sensores de velocidad en las ruedas. ---5. Válvula de pedal de freno.
---2. Una Unidad Electrónica de Control (ECU). ---6. Tanque de aire comprimido.
---3. Válvulas moduladoras de presión. ---7. Ruedas dentadas.
---4. Cilindro de diafragma. ---

 

La unidad de control electrónico (ECU) recibe y procesa las señales recibidas por los sensores de velocidad de las ruedas. La ECU, que está constituido por microprocesadores, calcula una velocidad de referencia o media de entre todas las recibidas, que se considera que corresponde con la velocidad del vehículo. Este dato va a ayudar a detectar si una rueda amenaza con bloquearse, dado que el sistema va a ir comparando sucesivamente esta media global o de referencia con las velocidades específicas que va recibiendo de cada rueda, por lo que se puede intuir si alguna de las ruedas, por la tendencia que lleva en su velocidad, es propensa a bloquearse o no, y actuar en consecuencia.

Si efectivamente, una de las ruedas amenaza con bloquearse, la ECU actúa de inmediato reduciendo la presión de frenado de esa rueda hasta alcanzar un valor fijado por debajo del límite de bloqueo, para que cuando la rueda vuelva a girar libremente se vuelva aumentar la presión de frenado para que continúe el proceso de parada. Este proceso se repite hasta que el conductor deja de accionar el pedal de freno, o disminuye la presión de activación del mismo.

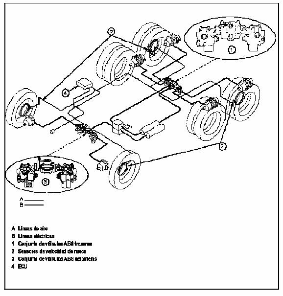
Componentes del sistema ABS de un vehículo

De la anterior figura que corresponde a la de un vehículo ligero, se desprende que el sistema de ABS es igual al circuito de frenos convencional al que se le han añadido un hidrogrupo, una centralita electrónica de control (ECU) y los sensores o detectores de régimen de giro en cada rueda.

2- Componentes del sistema

2.1- Generalidades

En esta sección se van a exponer los distintos componentes eléctricos y electrónicos que conforman el sistema ABS. Estos componentes, además de dar funcionalidad al sistema, sirven para realizar la diagnosis y comprobación de su correcto funcionamiento.

 

2.2- Sensores de rueda

Los sistemas de sensores ABS, también llamados captadores de rueda, miden la velocidad instantánea en cada rueda, enviando constantemente esta información a la ECU. El conjunto está compuesto por el captador o sensor y un generador de impulsos o rueda fónica (dentada) que gira con la rueda. El sensor de rueda se instala en el buje de la rueda, donde queda posicionado frente a la corona dentada que forma parte del propio eje de transmisión, dejando un entrehierro de un milímetro entre ambos.

Sensores ABS de la rueda

 

El captador funciona según el principio de la inducción. Se instala en el buje de la propia rueda, donde queda posicionado frente a la corona dentada, que como se ha dicho anteriormente, forma parte del propio eje de giro de la rueda. Para obtener una señal correcta, conviene mantener un entrehierro o separación entre el captador y la rueda fónica.

El sensor constantemente envía información de la velocidad de la rueda a la ECU mediante el correspondiente cableado que los une. El sensor se sujeta en su lugar contra la rueda dentada con un clip a presión. El tipo del eje determina la ubicación de montaje del sensor. Así, los sensores del eje de la dirección se instalan sobre el muñón de la propia dirección o sobre un soporte convenientemente atornillado, mientras que los sensores del eje propulsor, o eje trasero, están montados sobre un bloque fijado al alojamiento del eje.

El sensor o captador se rige por el principio de inducción. Está formado por imán permanente y una bobina conectada con la unidad hidráulica. El imán permanente crea un flujo magnético que se ve afectado por el paso de los dientes de la corona frente al imán, de manera que genera una tensión eléctrica en la bobina de tipo alternativa casi sinusoidal, cuya frecuencia es proporcional a la velocidad de giro de la rueda. La amplitud de la tensión en el captador es función de la distancia (entrehierro) entre diente y captador y de la frecuencia.

Funcionamiento y componentes de los sensores ABS de la rueda

 

A continuación se resume algunos aspectos que se debe tener en cuenta cuando se lleve a cabo la instalación del conjunto sensor/rueda dentada:

- se debe asegurar que el desplazamiento longitudinal de la rueda dentada no supere los 0.2 mm;

- no se debe instalar ruedas dentadas con señales de daños tales como dientes picados ó deformados;

- en el momento de la instalación, inicialmente el sensor deberá hacer contacto con la rueda dentada. El centro del sensor debe hacer contacto con la rueda dentada cerca del centro del ancho del diente, como mínimo a 3 mm de la orilla del mismo.

- Por último, generalmente para el sensor se requerirá un lubricante que debe ser a base de aceite mineral y contener molidisulfuro. Debe tener excelentes características anticorrosivas y de adhesión y ser capaz de funcionar continuamente con un margen de temperaturas de -40°C a 150°C.

 

2.3- Unidad de Control Electrónico (ECU)

La ECU se encarga del tratamiento de las señales enviadas por los captadores o sensores de cada rueda. Es el cerebro del sistema ABS. Recibe información de los sensores y envía señales a las válvulas ABS y a la unidad hidráulica para el caso de sistemas hidráulico de frenos. Hay ECUs para aplicaciones de montaje en la cabina o bien en el bastidor.

El sistema de funcionamiento de la ECU se inicia con las informaciones recibidas por cada sensor, que son tratadas en paralelo mediante unos microcomputadores. En caso de desigualdad de las informaciones recibidas entre los sensores, la ECU supone que hay peligro de bloqueo en alguna rueda e inicia el proceso de regulación de la frenada, es decir, activa el ABS.

Unidad de Control Electrónico ECU

La respuesta o salida de la ECU es amplificada para que sirvan para activar a las electroválvulas y la unidad hidráulica.

Además la ECU sirve para la realización de la diagnosis, según una doble vertiente:

- por un lado, la ECU realiza acciones autónomas que utiliza para labores de comprobación de sus periféricos y de su propio funcionamiento, es decir, auto-diagnosis;

- por otro lado, se refiere a la posibilidad de acceder a las informaciones o estado del sistema desde el exterior, es decir, la diagnosis exterior que realiza un mecánico mediante el aparato de diagnosis.

¿Qué Opinas de esta Web?

Envía tus comentarios y sugerencias

.

Pulsar aquí para enviarnos tus sugerencias

.

El proceso de auto diagnosis es un proceso automático que realiza la ECU y que sirve para:

- verificar el estado de sus periféricos;

- ser capaz de adoptar una marcha, según algún tipo de avería detectada;

- la ECU dispone de una memoria interna que permite memorizar fallos detectados que permitan una intervención posterior. Cualquier fallo detectado queda memorizado de manera permanente en la ECU, incluso si no hay tensión de alimentación.

 

Cada vez que se arranca el vehículo, la ECU efectúa un cierto número de tareas para comprobar el estado del sistema. Las comprobaciones realizadas principalmente son:

- tests internos de la propia ECU;

- tests con sus periféricos: alimentación, relé de electroválvulas, sensores;

- interfaces hacia el exterior.

 

Si una vez realizado estos tests iniciales de comprobación no se detectan fallos en el sistema, esta fase finaliza con el apagado del testigo de fallo al cabo de un par de segundos, aproximadamente.

No obstante, cuando el vehículo está circulando la ECU sigue realizando otros tipos de auto-controles, algunos se efectúan de forma permanente y otros necesitan unas condiciones de funcionamiento particular (de velocidad mínima de crucero…), en todo caso, todos estos tests se llevan a cabo simultánea y continuamente.

 

2.4- Hidrogrupo

El hidrogrupo o unidad hidráulica es un conjunto formado por motor-bomba, ocho electroválculas, cuatro de admisión y cuatro de escape, y un acumulador para el fluido hidráulico de baja presión. A continuación se exponen las características más importantes de cada uno de ellos:

- Electroválvulas

Están constituidas de un solenoide y de un inducido móvil que desarrolla las funciones de apertura y cierre. La posición de reposo es asegurada por la acción de un muelle incorporado. Todas las entradas y salidas de las electroválvulas van protegidas por unos filtros.

Con el objeto de reducir la presión de los frenos se incorpora una válvula antirretorno a la válvula de admisión. La válvula se abre cuando la presión de la bomba de frenos sea inferior a la presión de estribo, por ejemplo, cuando se deja de frenar estando el ABS funcionando.

El circuito de frenado está provisto de dos electroválvulas de admisión abiertas en reposo y de dos electroválvulas de escape cerradas en reposo. Será la acción separada o simultánea de las electroválvulas la que permitirá modular la presión en los circuitos de frenado.

 

- Equipo motor-bomba

Está constituido por un motor eléctrico y de una bomba hidráulica de doble circuito, controlado por la ECU. La función de este equipo es rechazar el líquido de freno durante la fase de regulación desde los bombines a la bomba de frenos. Cuando actúa el conjunto hidráulico el conductor lo nota dado que se produce un ligero movimiento del pedal de freno.

Básicamente el esquema de funcionamiento de esta unidad hidráulica se basa en transformar el movimiento de giro del motor eléctrico en un movimiento alternativo de los dos pistones que conforman la bomba hidráulica, según el principio de la biela-manivela.

 

- Acumulador de baja presión

Durante la actuación del sistema de ABS recibe el líquido de freno que pasa por la electroválvula de escape. El nivel de presión necesario para el llenado del acumulador de baja presión debe ser lo suficientemente bajo para no interferir en la caída de presión necesaria en la fase de regulación, pero lo suficientemente alta como para vencer el tarado de la válvula de entrada de la bomba.

El caudal medio evacuado por la bomba debe ser inferior al volumen máximo suministrado en situación de baja presión.

Unidad hidráulica del sistema ABS de un vehículo

 

2.5- Señal del switch de luces de freno

La información del contactor "luces de stop" tiene como misión permitir abandonar el modo ABS lo más rápidamente posible cuando sea necesario. Así si el ABS está funcionando y el conductor suelta el pedal de freno con el fin de interrumpir la frenada, la señal transmitida por el contactor de stop permitirá cesar la regulación más rápidamente.

 

2.6- Válvulas moduladoras ABS

En los vehículos industriales con sistema de frenos neumáticos, las válvulas moduladoras controlan la presión de aire a cada freno afectado durante la función de un ABS. La válvula moduladora generalmente está instalada sobre un riel del bastidor o un miembro transversal próximo a la cámara del freno.

Válvulas moduladoras ABS de un vehículo

 

A continuación se exponen algunas configuraciones típicas en el montaje de las válvulas moduladoras.

Montaje de válvulas moduladoras ABS en un vehículo

En esta secuencia se distingue que las válvulas moduladoras del eje trasero están montadas por separado y se usa una válvula relevadora para entregar presión de aire a las válvulas moduladoras.

 

Otra forma de montaje se consigue con una configuración agrupando las válvulas individuales en un conjunto de válvulas ABS para su instalación tanto en el eje delantero como en el trasero, según se muestra en la figura siguiente.

Montaje de válvulas moduladoras ABS en un vehículo

 

En la figura siguiente se muestra la configuración típica de montaje empleando este tipo de válvulas:

Montaje de válvulas moduladoras ABS en un vehículo

En la configuración anterior, el conjunto de válvulas ABS delanteras combina una válvula de liberación rápida con dos válvulas moduladoras ABS y se monta en la parte delantera del vehículo. El conjunto de válvulas ABS traseras combina una válvula de freno de servicio con dos válvulas moduladoras ABS y se monta en la parte posterior del vehículo. El conjunto de válvulas - delanteras o traseras - se debe montar cerca de las cámaras de freno que sirve.

 

2.7- Cableado

En los sistemas ABS se disponen de cables que partiendo de cada sensor conectan a éste con la ECU. A parte están los cables que conectan las válvulas moduladoras ABS con el ECU.

3- Funcionamiento hidráulico del sistema ABS

3.1- Generalidades

Para que el sistema ABS se active y entre en funcionamiento, es necesario que la fuerza de frenado aplicada en cualquier rueda sea mayor que la fuerza de adherencia al pavimento. En este caso, esa rueda tiende a bloquearse y entonces el sistema ABS se activa. Cuando esto ocurre se puede distinguir tres fases o estados durante la regulación de la frenada, a saber:

- el mantenimiento de presión;

- la disminución de presión;

- el aumento de presión.

A continuación se explica cada fase.

 

3.2- El mantenimiento de presión

Durante esta etapa la electroválvula de admisión se cierra, aislándose la bomba de frenos del bombín de la rueda, por lo que la presión de frenado que llega a la rueda no puede aumentar.

 

3.3- La disminución de presión

O también llamado disminución de la tendencia al bloqueo de la rueda. Esta fase interviene sólo cuando la fase de mantenimiento de presión no haya sido suficiente.

En esta etapa, la bajada de presión del líquido de freno que llega al bombín de la rueda se consigue gracias al acumulador de baja presión, cuya capacidad varía. La acción de la bomba permite rechazar el líquido de almacenado en los acumuladores hacia la bomba de frenos.

 

3.4- El aumento de presión

En esta fase la electroválvula de escape se cierra y la electroválvula de admisión se abre. Con ello se consigue conectar la bomba de frenos al bombín de la rueda, consiguiéndose aumentar la presión en el circuito.

En este caso, la alimentación hidráulica se efectúa gracias a la bomba de frenos, pero también por medio de la unidad hidráulica del sistema ABS, en el caso que no está vacío el acumulador.

Como el volumen de líquido de freno transportado es por lo general mayor que el volumen que va de los consumidores hacia los acumuladores de baja presión, éstos sirven únicamente a los acumuladores intermediarios para puntas de caudal cortas. La bomba rechaza el líquido de freno de los acumuladores de baja presión hacia los circuitos de freno (bomba de freno o bombín, dependiendo del reglaje de las electroválvulas de admisión).

Según el caudal de la bomba, la posición de los pistones de la bomba de frenos, y por consiguiente, la posición del pedal corresponde a la absorción momentánea del bombín de freno con un cierto decalado. Por ello, el pedal se encuentra posición alta durante las presiones bajas y en posición bala durante las presiones altas. Este cambio de presión regular provoca un movimiento del pedal (pulsación) y señala al conductor que el sistema de ABS ha entrado en curso.

 

 

>> FIN DEL TUTORIAL

 

 

Volver a
Tutoriales

 

 

Información y consulta:

Hermenegildo Rodríguez Galbarro

info@ingemecanica.com - Tel. 646 166 055

Aviso Legal  •  Política de Privacidad  •  Política de Cookies